1. <center id="iWUV6eB"></center>

        1. <label id="iWUV6eB"></label>
        2. UL Rain test apparatus and sprinkler test setup BND-UL

          Product Description:UL Rain test apparatus and sprinkler test setupType:BND-UL The UL water spray test device is based on the requirements in Figure 38.1 and Figure 38.2 of the UL60507-ENGL 1999 standard and the "Article 10 / Figure 11 clauses in the ANSI Z21.10.3-2004" and "ANSI Z21.58 standards" and "CSA4.3 -2004 "standards to meet UL1598, UL153, UL154B, UL1703, UL8750, UL1741, UL514B, UL1278, UL1571 and other standards.
          Description

          Product Description:

          UL Rain test apparatus and sprinkler test setup

          Type:BND-UL


          Standards:

          The UL water spray test device is based on the requirements in Figure 38.1 and Figure 38.2 of the UL60507-ENGL 1999 standard and the "Article 10 / Figure 11 clauses in the ANSI Z21.10.3-2004" and "ANSI Z21.58 standards" and "CSA4.3 -2004 "standards to meet UL1598, UL153, UL154B, UL1703, UL8750, UL1741, UL514B, UL1278, UL1571 and other standards.


          Features:

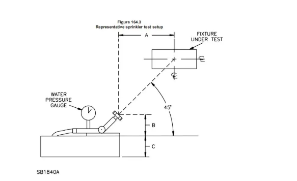
          1. Applicable to UL rain test and 45 ° water spray test of products.

          2. This device consists of two parts: UL rain test device (3 UL nozzles above) and sprinkler test device (1 UL nozzle below).

          3. The frame part of this device is made of molded aluminum material, which has a stable structure and is easy to clean.

          4. The nozzle holder is movable and can be freely raised and lowered by a hand-cranked stainless steel wheel device.

          5. This device adopts the original imported nozzle of UL laboratory, which fully complies with UL standards.

          6. The base of the bracket adopts universal castors with brakes, which is convenient for movement and fixation.

          7. Adopt the domestic brand "Hongqi" stainless steel pressure gauge to display the water spray flow (each nozzle has a corresponding pressure gauge).

          8. The nozzle layout of the equipment is strictly designed according to the standard, as shown in the figure:

          1.png

          2.png


          Specification

          1Equipment external dimensions NozzleApprox. Length 1500 * width 800 mm
          2Adjustable range of equipment height1000 ~ 2000mm
          3Nozzle number4
          4The distance between the water spray junction and the ground0-1000mm
          5Lower nozzle spray angle45 ° (horizontal direction)
          6Water flow rate≥10L / min
          7Total water pressure50 ~ 150Kpa
          8Single nozzle pressure34.5Kpa
          9Number of pressure gauges5

          UL-Rain-test-apparatus (1).jpg

          3.jpg

          RkEsijavascript:void();

            1. <center id="iWUV6eB"></center>

                1. <label id="iWUV6eB"></label>